ఆపిల్ నుంచి త్వరలో మడతపెట్టే ఫోన్లు
ఆపిల్ నుంచి త్వరలో రానున్న బెండబుల్ ఫోన్లు, ఈ ఫోన్లను మడతపెట్టి జేబులో పెట్టుకెళ్లవచ్చు
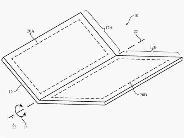
ఇప్పటివరకు ఐఫోన్లతో అలరించిన ఆపిల్ ఇకపై బెండబుల్ ఫోన్లతో అలరించనుంది. దీనికోసం ఇప్పటి నుంచే కసరత్తులు చేస్తోంది. అన్నీ అనుకున్నట్లుగా జరిగితే అతి త్వరలో ఆపిల్ నుంచి మనం మడతపెట్టే ఫోన్లను చూడవచ్చు. దీనికి సంబంధించిన పేటెంట్ హక్కులను కూడా ఆపిల్ సొంతం చేసుకుంది.
4జీ ఫోన్స్ లేకున్నా సరే, జీవితాంతం జియో ఉచిత కాల్స్ చేసుకోవచ్చు

మడతపెట్టి జేబులో వేసుకునేలా
ఆపిల్ వినియోగదారులకు సరికొత్త అనుభూతిని అందించేందుకు ఆపిల్ కొత్త టెక్నాలజీతో దూసుకొస్తోంది. రానున్న ఫోన్లు స్క్రీన్ పరిమాణాన్ని పెంచడంతోపాటు, మడతపెట్టి జేబులో వేసుకునేలా తయారుచేయనుంది.

పేటెంట్ హక్కులను
అందుకు సంబంధించిన పేటెంట్ హక్కులను తాజాగా సొంతం చేసుకుంది. అయితే 'ఫోల్డబుల్' ఫోన్ టెక్నాలజీ కోసం ఆపిల్ 2013 నుంచి కసరత్తులు చేస్తుంది.
లేటెస్ట్ స్మార్ట్ఫోన్స్ బెస్ట్ ఆన్లైన్ డీల్స్ కోసం ఇక్కడ క్లిక్ చేయండి

ఆగస్టులో దరఖాస్తు
కాగా పేటెంట్ హక్కుల కోసం ఈ ఏడాది ఆగస్టులో దరఖాస్తు చేసుకుంది. తాజాగా యూ.ఎస్. పేటెంట్ అండ్ ట్రేడ్మార్క్ కార్యాలయం నుంచి ఈ హక్కుల్ని సంపాదించింది.

ఐఫోన్ల తయారీలో
ప్రస్తుతం ఐఫోన్ల తయారీలో గ్లాస్, సిరామిక్,ఫైబర్, అల్యూమినియం లేదా ప్లాస్టిక్ను వాడుతున్నారు. భవిష్యత్తులో తీసుకురానున్న బెండబుల్ ఫోన్ల కోసం కొత్తగా కార్బన్ నానో ట్యూబ్స్ పదార్థాన్ని ఆపిల్ వినియోగించనుంది.

ఫోన్ను మధ్యలో వంచి మడతపెట్టే
ఆ పదార్థం వల్ల ఫోన్ను మధ్యలో వంచి మడతపెట్టే వీలుంటుందని కంపెనీ తెలిపింది. ఫోన్ను మడత పెట్టినప్పటికీ జాయింట్లో కార్బన్ నానోట్యూబ్స్ ఉండటం వల్ల సిగ్నల్స్కు ఎలాంటి అంతరాయం కలగదని ఆపిల్ చెబుతోంది.

ఎల్జీ ఇప్పటికే 'జీ ఫ్లెక్స్' పేరుతో
అయితే ఎల్జీ ఇప్పటికే 'జీ ఫ్లెక్స్' పేరుతో కర్వ్డ్ (వంగే) ఫోన్లను మార్కెట్లోకి విడుదల చేసింది. ఇక శాంసంగ్ వచ్చే ఏడాది బెండబుల్ స్మార్ట్ఫోన్లను తీసుకొచ్చేందుకు కసరత్తులు చేస్తోంది.

'బెండబుల్' స్మార్ట్ఫోన్లు
ఇప్పుడు హై-ఎండ్ ఫోన్ల దిగ్గజం ఆపిల్ కూడా అదే బాటలో వెళ్తొంది. సో త్వరలో 'బెండబుల్' స్మార్ట్ఫోన్లు మార్కెట్లో సందడి చేయనున్నాయన్నమాట.
లేటెస్ట్ స్మార్ట్ఫోన్స్ బెస్ట్ ఆన్లైన్ డీల్స్ కోసం ఇక్కడ క్లిక్ చేయండి


Click it and Unblock the Notifications